גם זה פטנט

במדור מוצגים שרטוטים מפטנטים שונים ומשונים שאושרו על ידי משרד פטנטים מכובד (ארה"ב, אנגליה, יפן, ישראל …).
השאלה – לגבי כל אחד מהפטנטים הללו – היא "מה הוא אמור לעשות" ?
התשובות ייבחנו לפי שני קריטריונים:
נכונות – התאמה למהות הפטנט המוצהרת ע"י ממציאו,
דמיון יוצר – מקוריות השימוש המוצע ע"י משיב התשובה.
את התשובות יש לשלוח אך ורק לכתובת
[email protected]
חשוב: הפותרים מתבקשים לא להשתמש בעזרים כמו תוכנות AI למיניהן או תוכנות חיפוש ויזואליות. אין להגיש יותר משני פתרונות !
רשימת הפותרים תנעל שבועיים אחרי העלאת החידה, ותפורסם – יחד עם תשובותיהם ופרטי הפטנט – אחרי עוד כשבוע. מי שישלח פתרון אחרי מועד זה, יצטרף לרשימת ה"ט.ל.ח.".

פטנט 8

Patent 8
תאריך פרסום: 29/10/2025
טוען חידות נוספות...
Group 24

פתרונות הסט הקודם ושמות העונים נכונה:

פטנט 7 – שיפור הרגשת הרכיבה באופנוע חשמלי. PCT WO 2025/191637

פטנט בין-לאומי (PCT) מוסב לחב' YAMAHA ע"י שני ממציאים ששמם Suzuki, ונועד לגרום רעש ורעידות אופיניים למנוע בנזין, תוך הורדה מינימלית ביעילות ההנעה החשמלית.
לאלה שאינם קוראי יפנית ואינם מסתפקים בתקציר האנגלי, פרטים מלאים נמצאים בסירטון
Patent 7
הפותרים העליזים: דוד מישנה ומוסה פלדמן עשו ניתוח נכון של השרטוט והגיעו לפתרון המדוייק. כל הכבוד !
תאריך פרסום: 09/10/2025

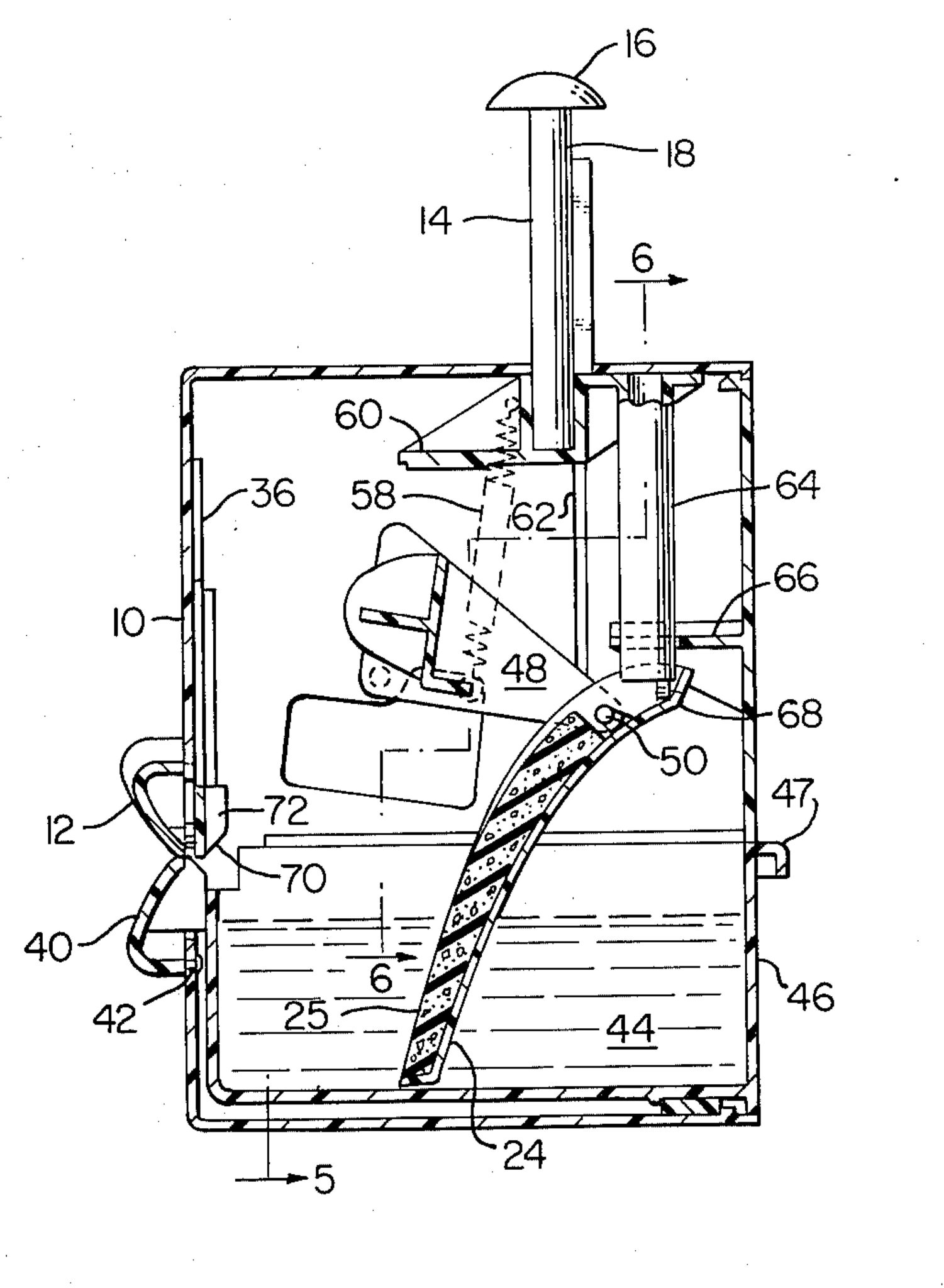
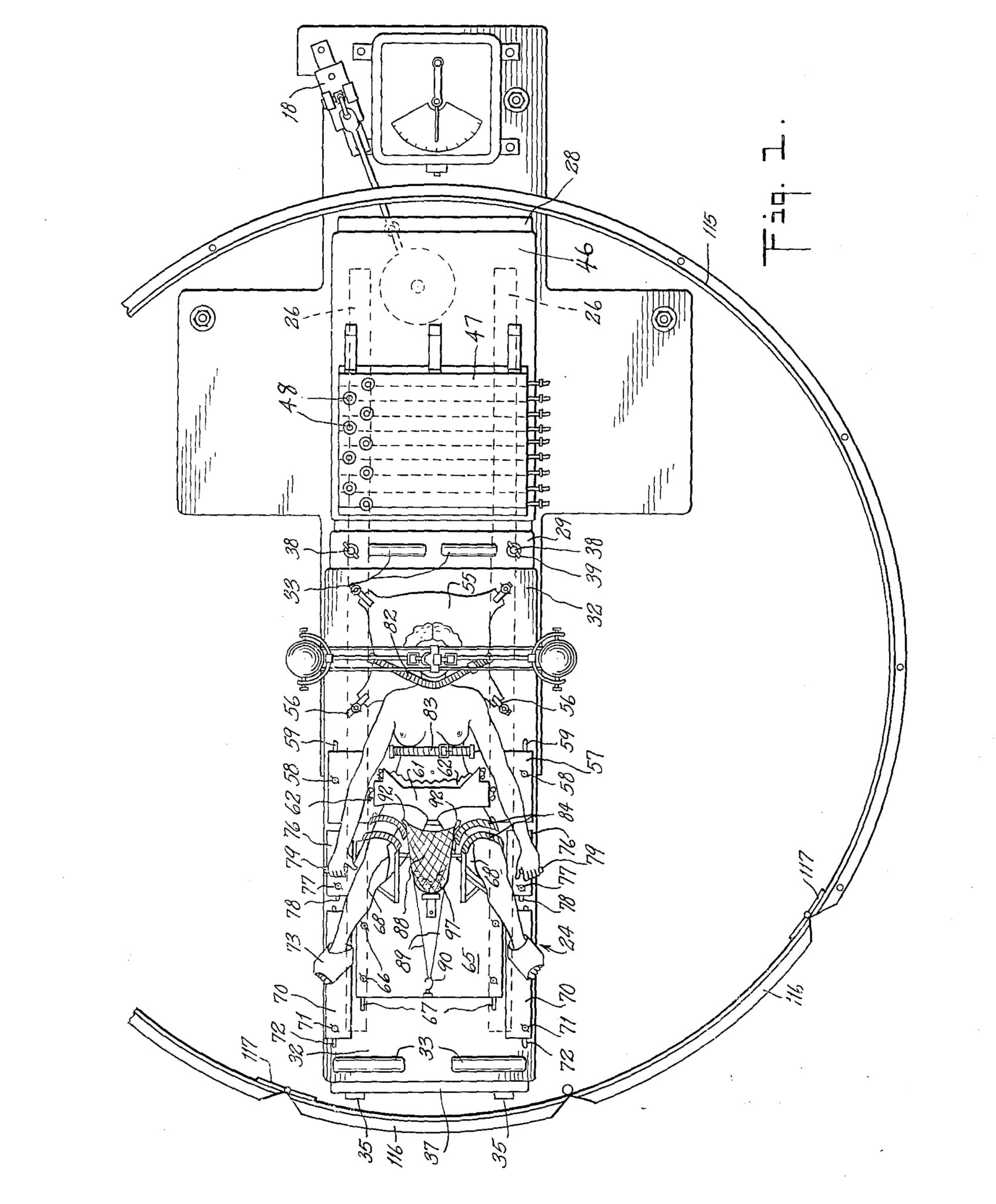
פטנט – 6 – מתקן לעזרה בלידה באמצעות כוח צנטריפוגלי. פטנט 3,216,423 US משנת 1965

פעם ראשונה – שלושה פותרים בקטגוריה 1 !  כן ירבו !
דוד מישנה זוכה בבונוס – בנוסף לפתרון הנכון, העיר גם כי ראשו של התינוק עלול להינזק מכוח צנטריפוגלי גדול מדי, ולכן המתקן יכול לשמש לעזרה בהפלה מלאכותית.
שימוש זה אינו מוזכר – יש לזכור כי בזמן הבקשה לפטנט הפלות היו "טבו" בארה"ב
Patent 6
הפותרים העליזים: בקטגוריה 1 – דוד מישנה, מוסה פלדמן, צילה שן-אור.
תאריך פרסום: 25/09/2025

פטנט 5 – גביע פיצה (עם מילוי): US 04463021 משנת 1984

אין זוכים בקטגוריה (1), אולם אלי קולטון הוכיח כי "הצורך הוא אבי ההמצאה" וקיבל ציון "מצטיין" בקטגוריה (2):
"הפטנט פותר בעיה מוכרת של סתימת צנורות ביוב מכיור מטבח אליה מחובר מדיח כלים.  אבקות הסבון במדיח מתפוררות ונשארת מהן אבקה . כאשר אבקה זו פוגשת שומנים , היא הופכת למקשה על גבי דופן צינור הביוב שמנקז את הכיור.
המתקן מותקן בחיבור הכיור לקו הולכת המים לביוב. המתקן בזכות צורתו ועיצובו משקע את השומן ולמעשה מפריד אותו המנוזל בכיור וגורם להפרדה בין השומן ובין המים עם אבקת הסבון עם האבקה ובכך מונע את הווצרות מעטה על גבי הצנור"
מוסה פלדמן כנראה קיבל השראה מאיזור אחר במטבח, והציע: 1 פרקולטור לקפה 2 – מכין פופ-קורן.
אילו היה משלב את שניהם – מכשיר המכין קפה ופופ-קורן – היה משתווה לאלי.  לא להתייאש ! 
Patent 5
הפותרים העליזים: בקטגוריה 1 אין, לצערנו. בקטגוריה 2 – אלי קולטון, מוסה פלדמן.
תאריך פרסום: 10/09/2025

פטנט 4 – מתקן למניעת חטיפות מטוסים: US 003841328 משנת 1974

הפעם לא היו פותרים ממש-ממש בשתי הקטגוריות, אם כי הפותר הסידרתי מוסה פלדמן התקרב במקצת, וזוכה ב- 1/4 נקודה
הממציא ראה בחזונו מנגנון המופעל מתא הטייס, תוקע בישבנו של הנוסע מחט של מזרק הטעון בחומר הרדמה.  חסר בפטנט קישור למערכת הכריזה של המטוס, שתשמיע – בשפות המתאימות – בקשה אדיבה לכל הנוסעים לשבת במושבם.
הפותרים – דוד מישנה, בנצי ספיר ו-1/2 המוסה – הלכו באותו שביל, והציעו כורסא העוזרת ליושב לקום.  הצעתו הכמעט-זוכה של מוסה היתה לכיסא מפלט, שבמגבלות מסויימות יכול אף הוא לסכל חטיפה.

שימו לב – נא להסתפק בשתי הצעות פתרון !

Patent 4
הפותרים העליזים: בקטגוריה 1 (פתרון נכון) – צילה שן-אור. בקטגוריה 2 – יגאל שפירא, מוסה פלדמן.
תאריך פרסום: 31/08/2025

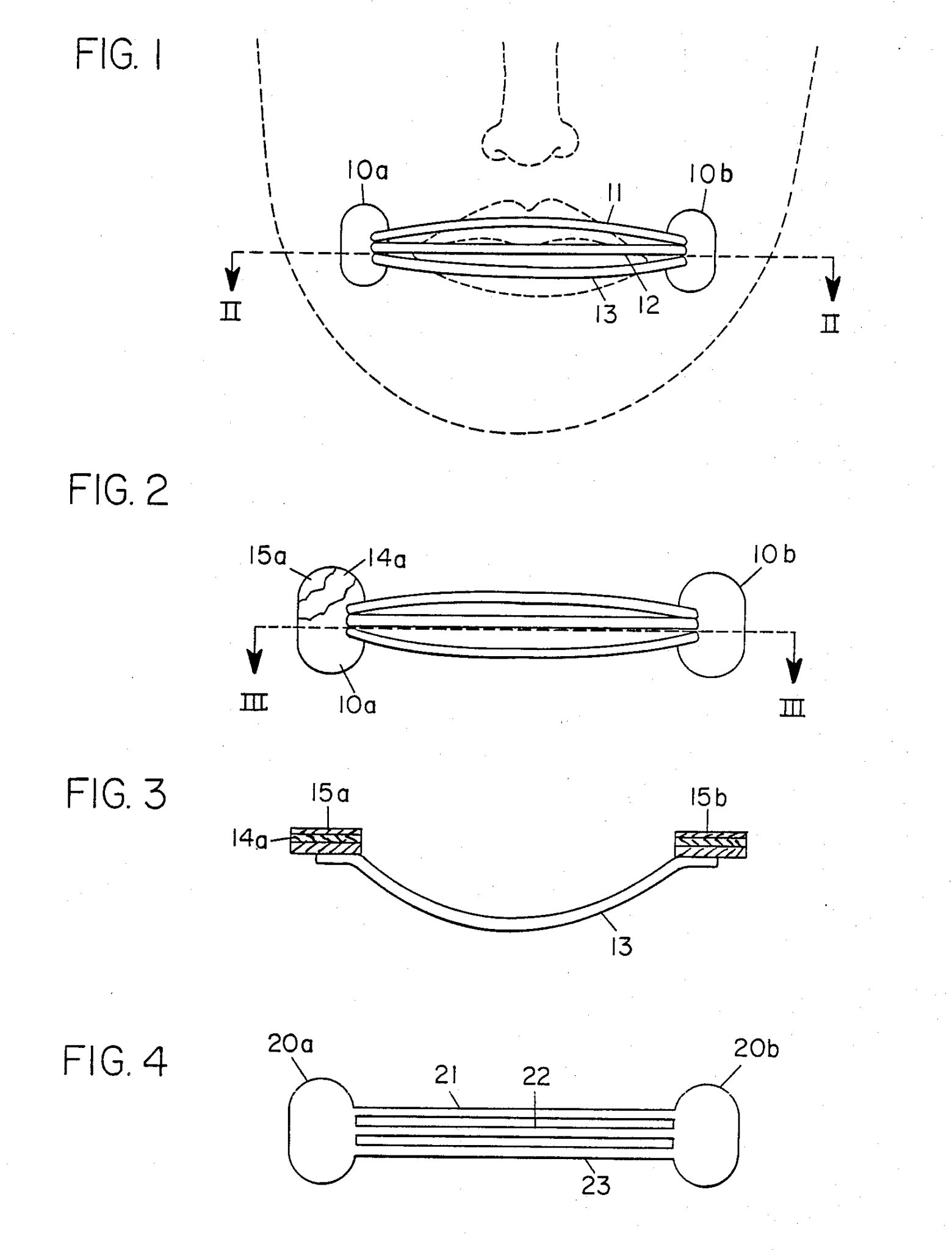
פטנט 3 – מתקן להרכבה על הפה, לעזרה בשמירה על המשקל. US 4883072 משנת 1989

צילה שן-אור פתרה נכון – "מתקן לדיאטה".  מוסה פלדמן התקרב – – "חוסם פה" שמאפשר לאכול רק או חומר נוזלי או רק חומר אבקתי:  הממציא אינו מזכיר שימוש כזה – כוונתו שהמתקן יוסר כאשר יש צורך לאכול, וימנע "נישנושים" כאשר הוא מודבק על הפה.
פתרונות בקטגוריה 2:
1) מתקן לאימון ונטרילוקוויסטים לדבר דרך האף – יגאל שפירא
2) חגורת צניעות" לשפתיים למניעת התנשקות לא רצויה.- מוסה פלדמן
3)  "שומר ניקיון" בשיחות בטלפון ציבורי ברחוב ו/או טלפון ציבורי במקום העבודה, שלא נדבק חו"ח מפיה מאולחת – מוסה פלדמן
בנוסף, "שח-רחוק" – הצעת מוטי וויס – "לא עובר את אחוז החסימה.

שימו לב – מעתה אני מבקש מהפותרים להסתפק בשתי הצעות פתרון !

us004883072 002 C
הפותרים העליזים: בקטגוריה 1 (פתרון נכון) – צילה שן-אור. בקטגוריה 2 – יגאל שפירא, מוסה פלדמן.
תאריך פרסום: 13/08/2025

פטנט 2 – שואב אבק בצורת כלב. פטנט ארה"ב מס. 3771192 משנת 1972

היתרונות שהממציא מצביע עליהם – חוץ מהצינור הנמשך לתוך הזנב – הם הקטנת פחדיו של כלב שיש לנקותו, הן בשל הצורה והן בשל הרעש המופחת.

אף אחד לא הגיע לפתרון הנכון, אולם מוסה פלדמן הציע מספר פתרונות מקוריים – לדוגמה, "ערכת ניסוי להשקת ריח חדש לכלבים שייבדוק את האפקטיביות שלו על כלבים מיוחמים" – שבהם "הכלב" פולט ולא שואב.
היות והממציא מציין גם יתרון של פליטת אוויר חם ליבוש הכלב, מוסה מקבל קרדיט גם בקטגוריה 1

Screenshot 2025 01 16 154312
הפותרים העליזים: מוסה פלדמן זוכה ב- 1/2 נקודה בקטגוריה 1, ובנקודה שלמה בקטגוריה 2
תאריך פרסום: 27/05/2025
טוען חידות נוספות...
Group 25
עיצוב ופיתוח: קבוצת מינוף